生理学/基底神经节

来自医学百科

基底神经节包括尾(状)核、壳核、苍白球丘脑底核、黑质和红核。尾核、壳核和苍白球统称纹状体;其中苍白球是较古老的部分,称为旧纹状体,而尾核和壳核则进化较新,称为新纹状体。尾核、壳核、苍白球与丘脑底核、黑质在结构与功能上是紧密相联系的。其中苍白球是纤维联系的中心,尾核、壳核、丘脑底核、黑质均发出纤维投射到苍白球,而苍白球也发出纤维与丘脑底核、黑质相联系。

基底神经节有重要的运动调节功能,它对随意运动的稳定、肌紧张的控制、本体感觉传入冲动信息的处理都有关系。在清醒猴,记录苍白球单个神经元的放电活动时观察到,当肢体进行随意运动时神经元活动发生明显明确的变化;有的神经元在肢体屈曲时放电增多,说明在底神经节与随意运动有关。电刺激纹状体的动物实验中观察到,单纯刺激纹状体并不能引起运动效应;但如在刺激大脑皮层运动区的同时,再刺激尾核或苍白球,则皮层运动区发出的运动反应即迅速抑制,并在刺激停止后抑制效还可继续存留一定时间。在猴,单侧损毁苍白球后,则对侧上肢的运用就不如同侧上肢的运用那样灵便。以上均说明基底神经节的功能与躯体运动有密切关系,便这些实验事实仍不能说清楚基底神经节是如何调节身体运动的。为一进一步阐明基底神经节的功能,有必要简述基底神经节功能紊乱的疾病。临床上在底神经节损害的主要表现可分为两大类:一类是具有运动过多而肌紧张不全的综合症,另一类是具有运动过少而肌紧张过强的综合症。前者的实例是舞蹈病手足徐动症等,后者的实例是震颤麻痹帕金森病)。临床病理的研究指出,舞蹈病与手足徐动症的病变主要位于纹状体,而震颤麻痹的病变主要位于黑质。

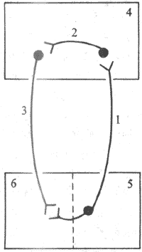
震颤麻痹患者的症状是:全射肌紧张增高、肌肉强直、随意运动减少、动作缓慢、面部表情呆板。此外,患者常伴有静止性震颤,此种震颤多见于上肢(尤其是手部),其次是下肢头部;震颤节律每秒钟约4-6次,静止时出现,情绪激动时增强,进入自主运动时减少,入睡后停止。关于震颤麻痹的产生原因,目前已有较多的了解。近年来,通过对中枢递质的研究,已明确中脑黑质是多巴胺能神经元存在的主要部位,其纤维上行可抵达纹状体(图10-38)。震颤麻痹患者的病理研究证明,其黑质有病变,同时脑内多巴胺会计师明显下降。在动物中,如用药物(利血平)使儿茶酚胺(包括多巴胺)耗竭,则动物会出现类似震颤麻痹的症状;如进一步给予左旋多巴(L-dopa,多巴胺之前体,能通过血脑屏障进入中枢神经系统)治疗,使体内多巴胺合成增加,则症状好转。由此说明,中脑黑质的多巴胺能神经元功能被破坏,是震颤麻痹的主要原因。

黑质纹状体环路示意图


图10-38 黑质纹状体环路示意图

1:多巴胺能神经元 2:碱能神经元3:γ-氨基丁酸能神经元

4:纹状体5:黑质致密部6:黑质网状部

早已知道,震颤麻痹患者能用M型胆碱受体阻断剂(东莨菪碱安坦)治疗,说明震颤麻痹的产生与乙酰胆碱递质功能的改变也有关系。在震颤麻痹患者进行苍白球破坏手术治疗过程中,如将乙酰胆碱直接注入苍白球,则导致对侧肢体症状加剧,而注入M受体阻断剂则症状减退。由此说明,纹状体内存在乙酰胆碱递质系统,其功能的加强将导致震颤麻痹症状的出现。总结多巴胺递质系统和乙酰胆碱递质系统的不同作用,目前认为黑质上行抵达纹状体的多巴胺递质系统的功能,在于抑制纹状体内乙酰胆碱递质系统的功能;震颤麻痹患者由于多巴胺递质系统功能受损,导致乙酰胆碱递质系统功能的亢进,才出现一系列症状。如果应用左旋多巴以增强多巴胺的合成,或应用M受体阻断剂以阻断乙酰胆碱的作用,均对震颤麻痹有一定的治疗作用。

静止性震颤的发生,可能与丘脑外侧腹核等结构的异常活动有关。用微电极记录震颤麻痹患者丘脑外侧腹核的神经元放电,可以观察到某些神经元具有周期性短串放电,其周期节律与震颤肢体的节律相同步,破坏丘脑这些区域后则静止性震颤消失。有人认为,这种异常活动是神经环路活动的结构结果,其通路可能为:丘脑外侧腹核→大脑皮层运动区→纹状体→丘脑外侧腹核。因为,切断苍白球至丘脑外侧腹核的纤维联系后,也可使静止性震颤消失。

舞蹈病患才的主要临床表现为不自主的上肢和头部的舞蹈样动作,并伴有肌张力降低等。病理研究证明,遗传性舞蹈病患者有显著的纹状体神经元病变,新纹状体严重萎缩,而黑质-纹状体通路是完好的,脑内多巴胺含量一般也正常。在这类患者,若采用左旋多巴进入治疗反而使症状加剧,而用利血平耗竭包括多巴胺在内的神经递质,却可使症状缓解。神经生化的研究发现,患者的纹状体中胆碱能神经元与γ-氨基丁酸能神经元的功能明显减退。因此认为,舞蹈病病变主要是纹状体内的胆碱能和γ-氨基丁酸能神经元功能减退,而黑质多巴胺能神经元功能相对亢进,这和震颤麻痹的病变正好相反。目前知道,黑质和纹状体之间有环路联系的;黑质的多巴胺能神经元的轴突上行抵达纹状体,能控制纹状体内的胆碱能神经元的活动,转而改变纹状体内γ-氨基丁酸能神经元的活动,然后γ-氨基丁酸能神经元的轴突下行抵达黑质,反馈控制多巴胺能神经元的活动(图10-38)。当纹状体内的胆碱能和γ-氨基丁酸能神经元病变时,上述环路功能受损,导致多巴胺能神经元活动亢进。

参看[编辑 | 编辑源代码]